2023年10月30日
来源:每日经济新闻
摘要
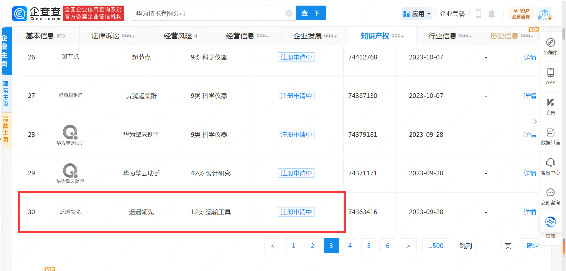
【华为申请注册“遥遥领先”商标】天眼查App显示,近日,华为技术有限公司申请注册“遥遥领先”商标,国际分类为运输工具、科学仪器,当前商标状态为等待实质审查。
近期,因华为Mate60系列手机发售,“遥遥领先”成为网络热词。
据企查查数据显示,近日,华为技术有限公司申请注册“遥遥领先”商标,国际分类为运输工具、科学仪器,当前商标状态为等待实质审查。


图片来源:企查查截图
9月12日下午,华为常务董事、终端BG CEO、智能汽车解决方案BU CEO余承东现身上海前滩31号,主持当天的问界新M7发布会。虽然此前已有消息称,此次发布不包括手机等新品信息,但与发布会相关的各种词条却在当天接连登上社交平台的热搜榜。有意思的是,华为新品发布会被“遥遥领先”刷屏。
据统计,在90分钟的发布环节,余承东在现场至少提及了五次“遥遥领先”,二十多次“领先”,每次提到的时候均引发了现场观众的掌声。
自9月华为Mate 60系列开启“先锋计划”以来,华为Mate 60系列手机深受消费者喜爱,目前仍然“一机难求”,此外,据CINNO数据报告显示,在超高端折叠屏市场,华为占据了50%的市场份额;车业务方面,问界新M7正式上市后,销量持续走高,日均订单量超1500台,上市不到两周,订单已超2万台,根据最新数据显示,问界新M7累计大定已突破6万台。
近日,华为发布2023年前三季度经营业绩,实现销售收入4566亿元人民币,同比增长2.4%,净利润率16.0%。
华为轮值董事长胡厚崑表示:“公司经营结果符合预期。感谢客户、伙伴一直以来对华为的信任和支持。面向未来,我们将持续加大研发投入,发挥公司产业组合优势,不断提升产品和服务竞争力,为客户、伙伴和社会创造更大价值。”
值得指出的是,与去年同期和今年上半年相比,华为的利润率都有所提升。2022年,华为前三季度公司实现销售收入4458亿元人民币,主营业务利润率为6.1%;今年8月,华为公布上半年财报实现营收3082.9亿元,净利润率为15%。
今年上半年,华为多项业务表现稳中有进:ICT基础设施业务保持稳健,终端收入实现增长,数字能源和云业务实现良好增长,智能汽车增量部件竞争力持续提升。